Новости, обзоры и акции
Новости, обзоры и акции
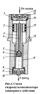
Гидромультипликаторы одинарного действия

Мультипликатор имеет ступенчатый цилиндр 1, внутри которого перемещается приводной поршень 2 и соединенный с ним соосно плунжер высокого давления 3. В поршне и и плунжере имеется сквозное отверстие, в котором размещается стержень 4 с направляющими фасонными втулками.
В нижней части плунжера 3 расположен клапан 5, колпачок 7, являющийся ограничителем хода клапана 5, и пружина 6, прижимающая клапан к седлу. В колпачке 7 имеются отверстия, через которые жидкость может при открытом клапане 5 перетекать из полости цилиндра 1 в полость цилиндра 11.
В верхней части цилиндра имеется пробка-заглушка 14 с уплотнительным кольцом, которая сверху поджимается гайкой 15.
В нижней части этой пробки имеются отверстия, расположенные так, что в центре остается площадка, в которую может упираться стержень 4. Уплотнение между стенками цилиндра, поршнем и плунжером обеспечивается поршневыми кольцами 13 и специальной втулкой 11.
В нижней части цилиндра имеется заглушка 8 с отверстием 10, которая крепится гайкой 9.
Гидромультипликатор работает следующим образом. Рабочая жидкость от насоса под давлением р1 подается по нагнетательному трубопроводу через канал 16 в полость над поршнем 2, протекает через канал внутри плунжера 3, открывает клапан 5 и попадает в заплунжерное пространство. Поскольку кольцевая камера под поршнем в этот момент соединена со сливным трубопроводом через канал 12, то поршень и плунжер под давлением жидкости будут двигаться вниз. По мере опускания поршня и плунжера вниз и заполнения заплунжерного пространства жидкостью давление р2 в нем будет повышаться.
При р1~р2 под действием пружины 6 закроется клапан 5, но перемещение поршня и плунжера вниз будет продолжаться. С этого момента начинается мультипликация давления. Давление р2 постепенно возрастает до наибольшего,определяемого соотношением диаметров поршня и плунжера. Широкое применение во многих системах получил балансировочный вентиль Cimberio, который может применяться для ручного регулирования, фиксации и даже полного перекрытия потока жидкости в системе
При достижении предельного давления рычаг управления распределителем переставляют в положение «Стоп», если для технологического процесса требуется обеспечить выдержку изделия под давлением. Если этого не требуется, то рычаг распределителя устанавливается в положение «Обратный ход», жидкость от насоса подастся через канал 12 в полость под поршнем и последний поднимается в крайнее верхнее положение. При этом стержень 4 упирается в пробку-заглушку 14 и открывает клапан 5. После открытия клапана жидкость вытекает из цилиндра и через канал 16, трубопроводы и распределитель попадает в сливной бак.
Мультипликаторы данного типа находят применение в гидросистемах ряда специальных прессов усилием от 100 тс (пресс ПМ1) до 1000 тс (пресс МП 10). Их встраивают непосредственно в механизм прессования. В этих прессах гидромультипликаторы повышают давление в пределах 160-1450 кгс/см2, т.е. коэффициент мультипликации равен 6—8.
Главное преимущество встроенных гидромультипликаторов заключается в том, что высокое давление создается лишь в рабочем цилиндре, расположенном в подвижной траверсе, и без каких-либо промежуточных звеньев прямо воздействует через днище цилиндра пресса и траверсу на прессуемое изделие. При этом гидросистема не имеет ни одного трубопровода, работающего под высоким давлением, что создает условия безопасного обслуживания пресса.
Основными недостатками гидромультипликаторов данного типа являются большие размеры, прерывистая подача, наличие холостого хода, малый единичный рабочий ход. При необходимости увеличить рабочий ход пресса следует производить перезарядку гидромультипликатора.
